Wie genau will Roborock das Treppen-Problem lösen?
Hersteller wie bspw. der Migo Ascender haben bereits einen Roboter in der Pipeline, der selbständig Treppen steigen kann.

Roborock geht laut dem Patentantrag einen anderen Weg.
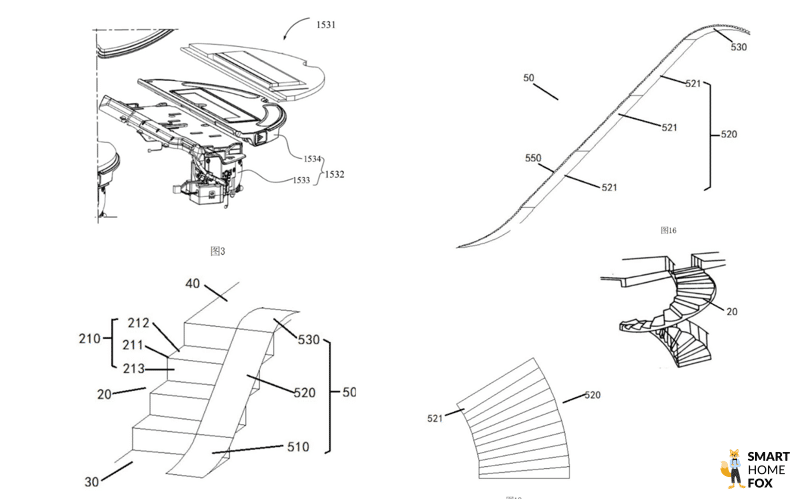
Das Patent beschreibt ein System, bei dem ein Hilfsgerät eine bewegliche Rampe auf Treppenstufen platziert, um Saugrobotern das Überwinden der Stufen zu ermöglichen.
Der Roboter kann sich dann an den speziellen Haken hochziehen.

Das System erkennt die Position und Höhe der Treppenstufen, passt die Rampe entsprechend an und ermöglicht so den sicheren Auf- und Abstieg des Roboters.
Dieses innovative Konzept zielt darauf ab, die Einsatzmöglichkeiten von Robotern in Umgebungen mit Treppen zu erweitern, ohne dass menschliches Eingreifen erforderlich ist.
Unsere Einschätzung: Das Konzept dürfte für die meisten Haushalte zu umständlich sein.
Warum stellen Treppen für Saugroboter so ein großes Problem dar?
Wenn Dein Zuhause mehrere Stockwerke besitzt, dann bsit Du auf der Suche nach einem Saugroboter, welche mehrere Etagen reinigen kann.
Aktuell können die Geräte (noch) nicht Treppen steigen. Somit musst Du die Geräte stets von dem einen in das andere Stockwerk tragen.

Dies stellt eine nervige (und vor allem wiederkehrende) Aufgabe dar.
Daher ist es mehr als verständlich, dass die Staubsauger-Roboter Hersteller ganz heiß darauf sind, diese Nuss zu knacken.