Wann erscheint der Samsung Galaxy Ring in Deutschland?
Es steht fest, dass Samsung offiziell an einem Smart Ring arbeitet. Am 17. Januar 2024 präsentierte das Unternehmen den Ring bei seinem Galaxy Unpacked Event.
Obwohl Details begrenzt waren, zeigte Samsung erste Bilder des Geräts und nannte es den Galaxy Ring.

Dieser hat große Ähnlichkeit mit dem von uns getesteten Oura Ring.
Die Popularität von Smart Rings nimmt zu, da viele Benutzer ein bildschirmfreies Erlebnis wünschen, um ihre grundlegenden Daten ohne Ablenkungen zu verfolgen.
Wir selbst nutzen regelmäßig einen Smart Ring, um unseren Schlaf, die Fitness und die Gesundheit zu tracken.
Release Datum des Wearables
Berichten zufolge befindet sich der Galaxy Ring in fortgeschrittener Entwicklung. Frühere Informationen deuten darauf hin, dass das Produkt möglicherweise zwischen Juli 2024 und März 2025 auf den Markt kommen könnte.
Die aktuell besten Smart Ringe auf dem Markt:
Spezifikationen und Funktionen des Samsung Galaxy Ring
Erwartet werden grundlegende Gesundheitsüberwachung und anständige Akkulaufzeit. Detaillierte Gesundheitsmetriken, exzellente Schlafverfolgung und ein schlankes Design sind jedoch einige der Funktionen, die die Erwartungen steigern könnten.
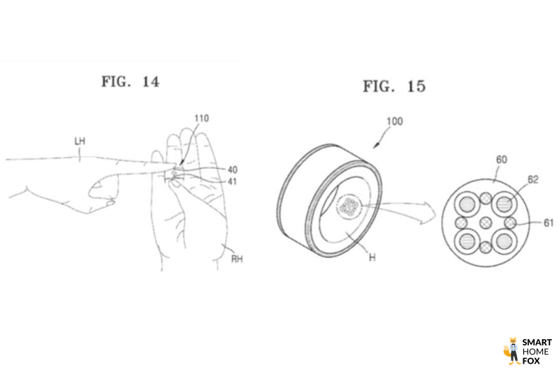
Gemäß den Patentanmeldungen könnte der Ring umfangreiche Gesundheitsüberwachung bieten, einschließlich EKG- und PPG-Sensoren zur Messung von Herzfrequenz und Temperatur.
Bilder des Rings zeigen drei erhabene Knoten auf der Innenseite, ähnlich dem Oura Ring 3.

Es gibt auch Hinweise auf eine mögliche Integration in das Smart Home sowie die Verwendung in XR-Anwendungen für genaue Hand- und Fingersteuerung.

Solche Funktionen haben wir in noch keinem Smart Ring gesehen, was den Samsung Galaxy Ring einzigartig machen würde.
Varianten des Galaxy Rings
Berichten zufolge arbeitet Samsung an einer einzigen Modellvariante des Rings in vier Größen. Der Ring soll bis zu Größe 13 erhältlich sein und in drei Ausführungen angeboten werden.
Zahlungsfunktion
Mit dem Samsung Galaxy Ring wirst Du bezahlen können.
Dieses praktische Feature kennen wir bereits von Smartwatches mit NFC-Funktion.
Dass der Galaxy Ring dies nun auch bewerkstelligen kann, finden wir mehr als praktisch.
Die besten Smart Ringe im Vergleich
Möglicher Preis des Samsung Galaxy Ring
Aufgrund der erforderlichen Technologie wird der Galaxy Ring voraussichtlich teuer sein, vergleichbar mit den aktuellen Wearables von Samsung.
Der genaue Preis bleibt abzuwarten, aber es wird erwartet, dass er sich in der Nähe von 300 US-Dollar bewegt.
Sollten wir auf den Samsung Galaxy Ring warten?
Es besteht eine gute Chance, dass der Samsung Galaxy Ring das Warten wert ist.
Dennoch, mit vielen Unbekannten und möglicherweise Jahren, bis das Produkt auf den Markt kommt, empfehlen wir Dir nicht, den Atem anzuhalten.
Die Zukunft der Smart Rings könnte durch den Galaxy Ring von Samsung jedoch einen bedeutenden Schub erhalten.
Die Veröffentlichung des Galaxy Rings bleibt abzuwarten, aber es scheint, als ob Samsung die Messlatte für Smart Rings höher legen könnte.
Smarte Alternativen zum Galaxy Ring
Fazit: Ein vielversprechender Schritt in die Zukunft
Mit der offiziellen Enthüllung des Samsung Galaxy Ring auf dem Galaxy Unpacked 2024-Event hat Samsung ein aufregendes Kapitel in der Welt der Wearables eingeleitet.
Obwohl viele Details wie der Preis, die genauen Spezifikationen und das Veröffentlichungsdatum noch unbekannt sind, lassen die vorliegenden Informationen viel Raum für Vorfreude und Spekulationen.
Insgesamt steht der Samsung Galaxy Ring für einen aufregenden Schritt in die Zukunft der Wearables.
Für Fitness-Enthusiasten und Gesundheitsbewusste könnte der Galaxy Ring das lang erwartete Glied in der Kette der tragbaren Technologien sein.
Wir werden gespannt darauf warten, wie Samsung die Versprechen dieses vielversprechenden Wearables in den kommenden Monaten einlösen wird.
Verpasse keine News & Deals mehr
Für aktuelle Top-Angebote und besondere Aktionen, besuche unsere spezielle Angebotsseite.
Ebenfalls empfehlenswert: Hier findest Du weitere News zu Smart Home - und Technikthemen.
Um sicherzustellen, dass Du keine unserer exklusiven Deals verpasst, empfehlen wir Dir, Dich für unseren Newsletter anzumelden. Dort erhältst Du regelmäßig eine Auswahl der attraktivsten Angebote im Bereich Smart Home und Technik direkt in Dein Postfach.
Inhalt
Samsung Galaxy Ring: Einblicke in die Zukunft der Smart Wearables
Wann erscheint der Samsung Galaxy Ring in Deutschland?
Spezifikationen und Funktionen des Samsung Galaxy Ring
Möglicher Preis des Samsung Galaxy Ring
Sollten wir auf den Samsung Galaxy Ring warten?